企查查 App 显示,3 月 9 日,OPPO 广东移动通信有限公司公开了 “游戏手柄”专利,申请日期为 2019 年 9 月 9 日,公开号为 CN112451961A。

IT之家了解到,专利说明指出,随着电子游戏产业的飞速发展,手机游戏由于具有便捷性而得到广泛的推广。为了更好的操作游戏,在手机外一般设置有游戏手柄。
现有的手机游戏手柄主要分为两类,一类是不可插耳机的游戏手柄,即手机被夹在游戏手柄的中间,游戏手柄挡住了手机的耳机孔而无法插接耳机;另一类是可插耳机的游戏手柄,即手机安装于游戏手柄的支架上,游戏手柄没有遮挡耳机孔,可以插接耳机。
然而,不可插耳机的游戏手柄在操作过程中容易受到外界环境影响,降低游戏体验;可插耳机的游戏手柄上的耳机线的不能收纳。
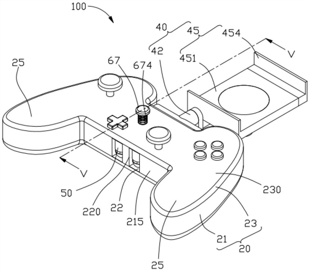
而本发明提供一种游戏手柄,包括外壳及设置于所述外壳上的支撑架,所述外壳内开设收纳空间,所述收纳空间用于收纳耳机,所述支撑架用于支撑游戏设备。本发明游戏手柄的外壳内开设用于收纳耳机的收纳空间,在不玩游戏时,可以将耳机收纳于所述收纳空间内,能够避免用户忘记带耳机或不能使用耳机而降低游戏体验,且使用方便。





