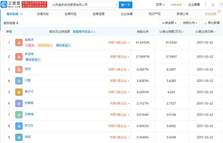
企查查APP显示,3月26日,北京美奈咨询管理有限公司成立,法定代表人为戚振波,注册资本100万元人民币,经营范围包含:企业管理咨询;经济贸易咨询等。企查查股权穿透显示,该公司由戚振波、李佳琦、付鹏等人员共同持股,其中李佳琦持股38%,为第二大股东。#李佳琦和小助理合开公司#

编辑 沐沐 校对 张莹莹
企查查APP显示,3月26日,北京美奈咨询管理有限公司成立,法定代表人为戚振波,注册资本100万元人民币,经营范围包含:企业管理咨询;经济贸易咨询等。企查查股权穿透显示,该公司由戚振波、李佳琦、付鹏等人员共同持股,其中李佳琦持股38%,为第二大股东。#李佳琦和小助理合开公司#

编辑 沐沐 校对 张莹莹