
苹果正在研究是否可以制造对设备供电进行精细控制的电源插座,比如加入 UWB 超宽带技术,让插座自行判断附近智能手机,平板电脑和其他电子设备的位置,这样,未来的 HomeKit 可以根据用户所在的位置通过插口来控制物品。
HomeKit 需要所有设备都连接到中央网络,尽管它确实在设置中提供了一定程度的位置感知,但精细程度还不足以按房间来运行。
如果 HomeKit 能够更好地确定用户在建筑物内的位置,就能启用更多高级功能,例如当用户进入房间时打开房间中的灯或风扇。这是智能家居的发展目标之一。
在周四美国专利局发布的名为「模块化墙体系统」的专利申请中,苹果打算通过利用室内的插座,固定装置和配件来做到这一点。
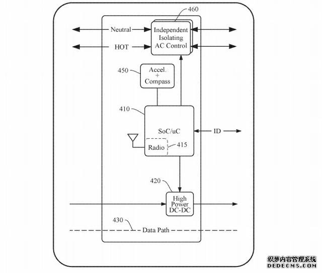
在专利中,电源插座内置处理器芯片,处理器控制两大模块,一个是电源模块,一个是通信模块。电源模块配置多个自主电源,可以根据远程命令打开或关闭。通信模块则可以与屋内的其他主机单元进行通信,从而在设备之间发送数据。


该插座还可以具有多个附件,例如使用多天线阵列与多个主机单元进行通信以计算通信数据的相位角,用作罗盘的磁力计以及用于检测方向的加速度计。
通过使用这些组件,它可以使建筑物的中央系统生成平面图,利用雷达,IEEE 802 通信协议,超声方法以及超宽频(UWB)无线电定位,就能确定每个插座相对的位置,并将它们分组到房间中以进行大规模控制。
UWB 的使用很有趣,iPhone 11 和 iPhone 11 Pro 系列中的 U1 芯片可用来识别 AirDrop 接收者的精确位置,这只是应用场景的其中之一。与 WiFi、蓝牙等传统室内定位技术路径相比,UWB 具备诸多优点,最主要的就是定位精度。UWB 能够将探测精度缩小至 10 厘米以内的范围,远超蓝牙 5.0 配合 Wi-Fi 所能达到的 1 米精度。
由于 UWB 采用的频率较高,频带也更宽,虽然传输距离有限,但它几乎不会对其它无线信号造成影响,且传输容量和速率更大,这也是为什么苹果会将 UWB 应用在 AirDrop 功能上。
同样,将 UWB 添加到插座不仅可以使插座相互通信并确定其在 3D 空间中的位置,还可以监测到附近 iPhone 的存在,从而实现精细的家庭定位功能。


当然,墙体单元不一定是电源插座。根据苹果的想法,嵌入墙体的元件还可以包括电灯开关、温度控制器以及其他具有相同传感器并固定在墙上的各种开关按钮。到那个时候,HomeKit 将掌握各个智能家居的分布图以及你在 HomeKit 分布系统中的位置,指挥各设备快速进入工作状态,成为家居系统的大脑,而 UWB 则是组成神经网络的重要一环。




